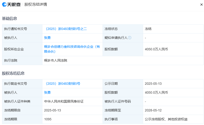
天眼查显示,近日,张勇新增一条股权冻结信息,股权所在企业为桐乡合创德力叁科技咨询合伙企业(有限合伙)(以下简称“合创德力”),冻结股权数额为4050万元,执行法院为浙江省嘉兴市桐乡市人民法院,冻结期限为2025年5月13日至2028年5月12日。

合创德力成立于2022年11月,执行事务合伙人为张勇,出资额约7941.18万元,经营范围为信息技术咨询服务、科技中介服务、企业管理咨询、认证咨询,由张勇、钱得柱、陈耀光共同出资。

值得注意的是,合创德力唯一对外投资企业为德力新能源汽车有限公司,钱得柱为法定代表人,该公司推出了“大力牛魔王”新能源汽车。
去年12月市场曾传出张勇离任哪吒CEO,加入物流商用车品牌“大力牛魔王”的消息,不过,该消息很快被辟谣。据都市快报报道,彼时,哪吒汽车向媒体表示:“公司高层未有变动,张勇仍担任哪吒汽车CEO,公司目前运营正常。”
同月6日,哪吒汽车官宣,因公司战略调整,张勇不再担任CEO,转任公司顾问。哪吒汽车创始人、董事长方运舟兼任公司CEO,直接领导公司的日常运营和战略规划。

今年4月14日,针对网传哪吒汽车原CEO张勇离职前在公司办理了英国签证并滞留当地,其名下关联的多家子公司被指通过账户清零、资产转移等操作沦为 “空壳”一事,张勇在朋友圈回应称:“感谢大家关心,看到网络上一些传闻,至今仍担任哪吒汽车顾问,为公司四处奔波融资。”
据九派新闻援引媒体报道,4月17日,哪吒汽车原CEO张勇将其微博账号内容全部隐藏。
截至发稿,张勇微博粉丝量为34.2万,其微博账号中所有内容已无法查看。
张勇的抖音短视频账号目前仍然正常,截至发稿,其抖音账号粉丝量为59.5万。



发表评论
2025-05-27 01:14:44回复